Кошик
В кошику немає товарів :(
Це ніколи не пізно виправити :)

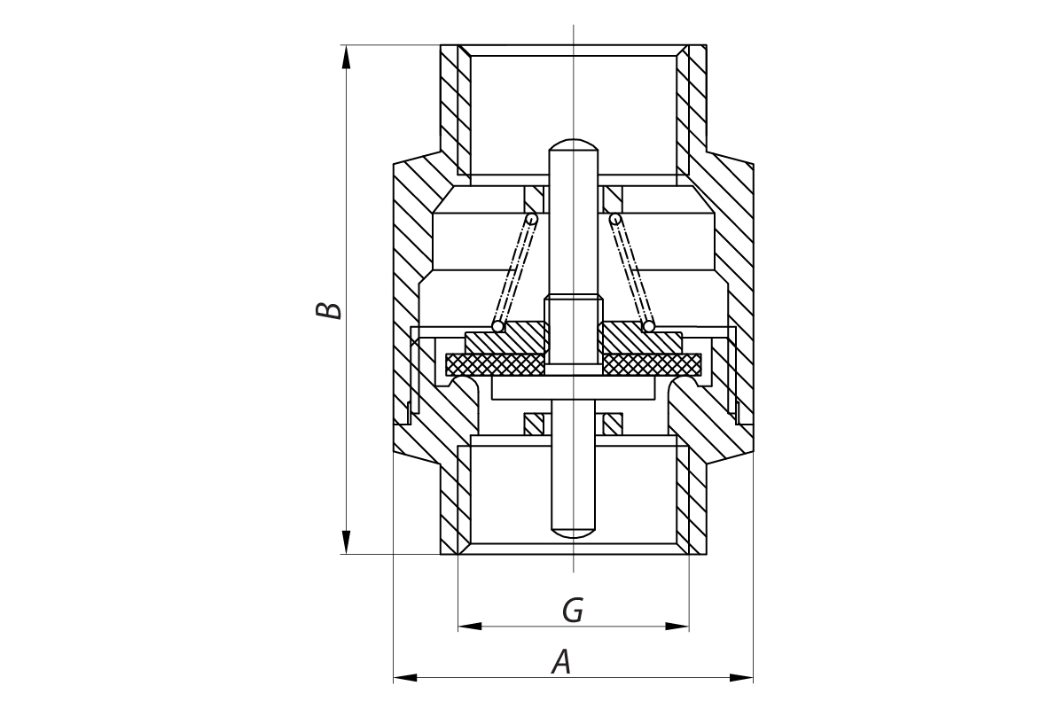
Клапан зворотний пружинний призначений для встановлення на гідравлічних і пневматичних трубопровідних мережах і пропуску транспортованого середовища тільки в одному напрямку (зазначеному стрілкою на корпусі клапана).
Як транспортоване середовище може використовуватися стиснене повітря, холодна та гаряча вода й інші рідини, неагресивні до матеріалу клапана.

| Розміри, G | 1/2″ | 3/4″ | 1″ | 1.1/4″ | 1.1/2″ | 2″ |
| A, мм | 33,5 | 41 | 45 | 57,5 | 64,7 | 76,8 |
| B, мм | 46,5 | 54,5 | 59,5 | 65,5 | 68,5 | 74,5 |
| Робочий тиск, бар | до 40 | до 40 | до 35 | до 30 | до 27 | до 25 |
| Мінімальний робочий тиск, бар | 0,05 | |||||
| Мінімальний перепад тиску відкриття клапана, бар | 0,025 | |||||
| Інтервал температур робочого середовища, ℃ | -20 ÷ +90 | |||||
| Мінімальний перепад тиску закриття клапана, бар | 0,05 | |||||
| Середній повний термін служби, років | 15 | |||||
| Матеріал корпусу | Латунь CW617N | |||||
Немає відгуків про цей товар.