Корзина
В корзине пусто!
Это никогда не поздно исправить :)

Краны применяются в качестве запорной арматуры на трубопроводах систем питьевого и хозяйственного назначения, горячего водоснабжения, отопления, сжатого воздуха, а также на технологических трубопроводах, транспортирующих жидкости, неагрессивные к материалам крана.
Использование шаровых кранов в качестве регулирующей арматуры не допускается.
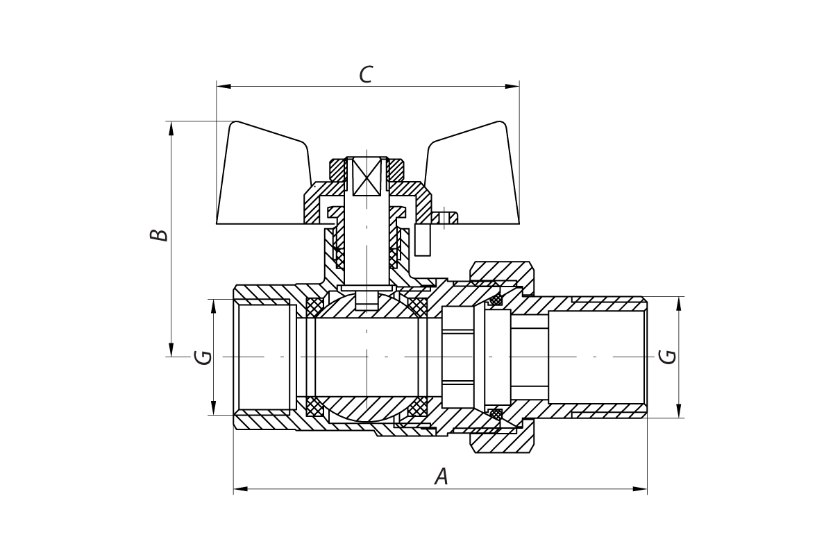
Наличие полусгона позволяет монтировать и демонтировать кран без демонтажа трубопровода.

| Размеры, G | 1/2” | 3/4” | 1” |
| A, мм | 76 | 86 | 101 |
| B, мм | 42 | 49 | 53,5 |
| C, мм | 53 | 63 | 73 |
| Класс герметичности затвора | «А» | ||
| Рабочее давление (PN), бар | до 20 | ||
| Максимальное давление (PN), бар | 40 | ||
| Тип по эффективному диаметру | полнопроходной | ||
| Температура окружающей среды, ℃ | -20÷ +60 | ||
| Температура рабочей среды, ℃ | -20÷ +120 | ||
| Влажность окружающей среды, % | 0÷80 | ||
| Угол поворота рукоятки между крайними положениями, градусы | 90º | ||
| Материал корпуса | Латунь CW617N никелированная | ||
Нет отзывов об этом товаре.